Tower Structural Laminating Ligonier

The Tower Structural Laminating Advantage Tower Structural Laminating

The Tower Structural Laminating Advantage Tower Structural Laminating

Faqs Tower Structural Laminating

Faqs Tower Structural Laminating

Pin On House

Pin On House

Business Directory City Of Ligonier

Business Directory City Of Ligonier

Our Solutions Tower Structural Laminating

Our Solutions Tower Structural Laminating

Old Kennywood Bing Images Roller Coaster City Photo Image

Old Kennywood Bing Images Roller Coaster City Photo Image

Old Kennywood Bing Images Roller Coaster City Photo Image

Tower structural laminating is a leading manufacturer of custom laminated composite panels for truck bodies trailers rvs boats pre made bathrooms and construction.

Tower structural laminating ligonier.

Tower structural laminating is located in ligonier in. With an annual income of 10 to 50 million this business employs 20 to 49 associates. 1491 gerber st ligonier in 46767 get directions. Tower structural laminating ligonier indiana.

Tower structural laminating in ligonier tower structural laminating 1491 gerber st ligonier in 46767 yahoo us local. Tower structural laminating 1491 gerber st ligonier in laminated structural products mapquest.

Pin By Wpxiscott On Westmoreland County Cool Places To Visit Ligonier Pa Ligonier

Pin By Wpxiscott On Westmoreland County Cool Places To Visit Ligonier Pa Ligonier

Fort Ligonier Site Ligonier Pa Day Trips Castle Doctrine Military Fortification

Fort Ligonier Site Ligonier Pa Day Trips Castle Doctrine Military Fortification

Tower Structural Laminating 1491 Gerber St Ligonier In Laminated Structural Products Mapquest

Tower Structural Laminating 1491 Gerber St Ligonier In Laminated Structural Products Mapquest

Cripe Drywall 110 Photos Home Improvement Ligonier In 46767

Cripe Drywall 110 Photos Home Improvement Ligonier In 46767

Fortifications Fort Ligonier Pa Aerial View Build A Fort Fort Fortification

Fortifications Fort Ligonier Pa Aerial View Build A Fort Fort Fortification

175 Bobcat Ln Ligonier Pa 15658

175 Bobcat Ln Ligonier Pa 15658

The Ligonier Valley Rr Emc Gas Electric Rail Car 1152 Was One Of Four Second Hand Rail Motor Cars They Owned Rail Car Gas And Electric Motor Car

The Ligonier Valley Rr Emc Gas Electric Rail Car 1152 Was One Of Four Second Hand Rail Motor Cars They Owned Rail Car Gas And Electric Motor Car

2019 2020 The Phone Book Noble And Lagrange Counties By Kpc Media Group Issuu

2019 2020 The Phone Book Noble And Lagrange Counties By Kpc Media Group Issuu

Save This Old House C 1923 Fixer Upper Johnstown Pa Sold Old Houses Under 50k

Save This Old House C 1923 Fixer Upper Johnstown Pa Sold Old Houses Under 50k

Noble Lagrange County Yellow Pages By Kpc Media Group Issuu

Noble Lagrange County Yellow Pages By Kpc Media Group Issuu

The News Sun December 1 2013 By Kpc Media Group Issuu

The News Sun December 1 2013 By Kpc Media Group Issuu

044160 Supreme Corporation

044160 Supreme Corporation

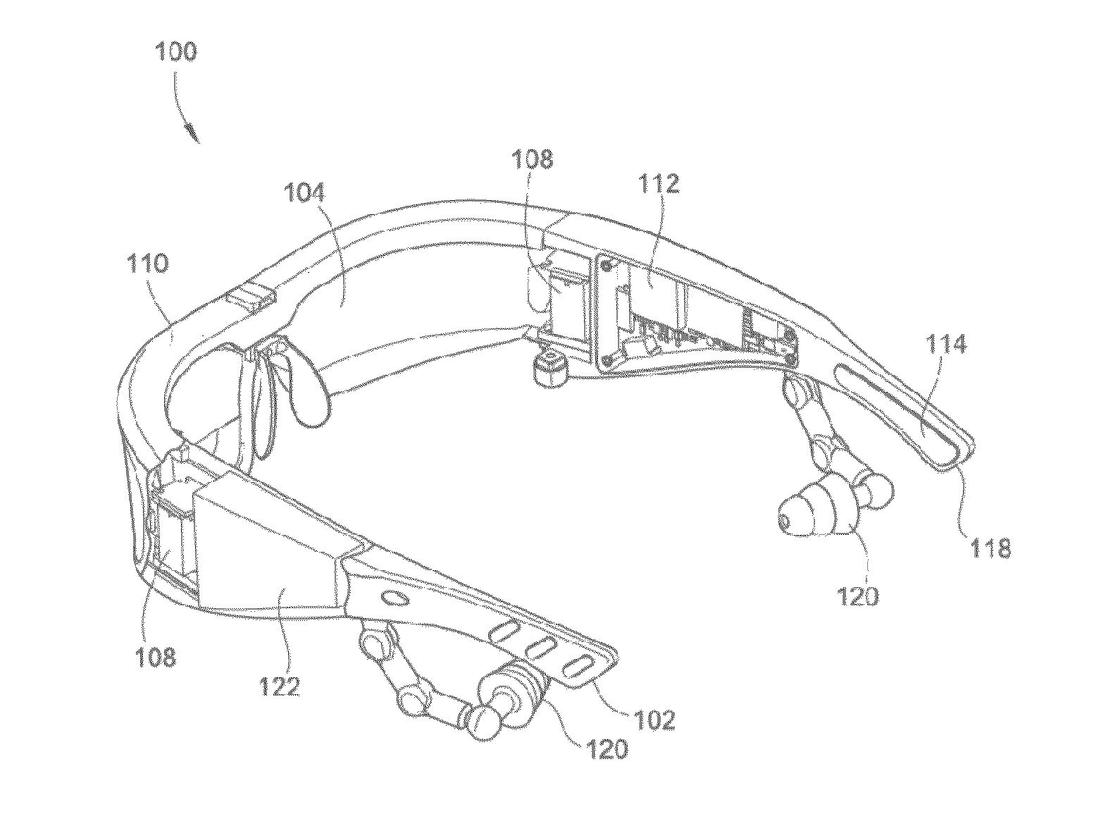
See Through Near Eye Display Glasses With A Small Scale Image Source Us 9 341 843 B2 Patentswarm

See Through Near Eye Display Glasses With A Small Scale Image Source Us 9 341 843 B2 Patentswarm

116990 Supreme Corporation

116990 Supreme Corporation

015555885 Supreme Corporation

015555885 Supreme Corporation

See Through Near Eye Display Glasses Including A Curved Polarizing Film In The Image Source A Partially Reflective Partially Transmitting Optical Element And An Optically Flat Film Us 8 488 246 B2 Patentswarm

See Through Near Eye Display Glasses Including A Curved Polarizing Film In The Image Source A Partially Reflective Partially Transmitting Optical Element And An Optically Flat Film Us 8 488 246 B2 Patentswarm

Adventure With Courtney Preservation History And Adventure

Adventure With Courtney Preservation History And Adventure

2018 19 The Phone Book Noble And Lagrange Counties By Kpc Media Group Issuu

2018 19 The Phone Book Noble And Lagrange Counties By Kpc Media Group Issuu

2016 2017 Phone Book Noble And Lagrange Counties By Kpc Media Group Issuu

2016 2017 Phone Book Noble And Lagrange Counties By Kpc Media Group Issuu

0420005 Supreme Corporation

0420005 Supreme Corporation

0690570 Supreme Corporation

0690570 Supreme Corporation

0690622 Supreme Corporation

0690622 Supreme Corporation

H D69 Ygplcm8m

H D69 Ygplcm8m

Indiana Beesfirstappearance

Indiana Beesfirstappearance

Patent Us 8 964 298 B2

Patent Us 8 964 298 B2

Tropaion The Frame Blog

Tropaion The Frame Blog

Still Pond Md Home For Sale Mls Listing Id Mdke116930

Still Pond Md Home For Sale Mls Listing Id Mdke116930

Https Www Pfaffmann Com P Adeveloperqualificationslowres Pdf

Https Www Pfaffmann Com P Adeveloperqualificationslowres Pdf

Https Usmodernist Org Ar Ar 1943 06 Pdf

Https Usmodernist Org Ar Ar 1943 06 Pdf

Online Issue

Online Issue

Https Www Pacamping Com Uploads Files Directory Pcoa Fulldirectory2014 Pdf

Https Www Pacamping Com Uploads Files Directory Pcoa Fulldirectory2014 Pdf

Https Www Fordlibrarymuseum Gov Library Document 0018 81556758 Pdf

Https Www Fordlibrarymuseum Gov Library Document 0018 81556758 Pdf

Https Www Prwa Com Sites Default Files Files Webpage 2015 889 1995 Spring Keystonetap Pdf

Https Www Prwa Com Sites Default Files Files Webpage 2015 889 1995 Spring Keystonetap Pdf

Http Stacks Cdc Gov Objectview Pid Cdc 3a10577 Dsid Ds1 Mimetype Application 2fpdf

Http Stacks Cdc Gov Objectview Pid Cdc 3a10577 Dsid Ds1 Mimetype Application 2fpdf

Http Www The Papers Com Onlinemagazine Thepaper Archive Kos Ko 04 24 19 Offline Download Pdf

Http Www The Papers Com Onlinemagazine Thepaper Archive Kos Ko 04 24 19 Offline Download Pdf

The Story Of Highlands New Jersey

The Story Of Highlands New Jersey

Https Www Gpo Gov Fdsys Pkg Fr 1969 04 04 Pdf Fr 1969 04 04 Pdf

Https Www Gpo Gov Fdsys Pkg Fr 1969 04 04 Pdf Fr 1969 04 04 Pdf

Analytics For Us Patent Application No 2013 0278 631 3d Positioning Of Augmented Reality Information

Analytics For Us Patent Application No 2013 0278 631 3d Positioning Of Augmented Reality Information

Aa Construction Waterford Township Mi 2020

Aa Construction Waterford Township Mi 2020

Http Images2 Advanstar Com Pixelmags Dvm360 Pdf 2016 03 Pdf

Http Images2 Advanstar Com Pixelmags Dvm360 Pdf 2016 03 Pdf

Pin On Historic Pictures

Pin On Historic Pictures

Supreme Corporation Truck Specialty Vehicles Linkedin

Supreme Corporation Truck Specialty Vehicles Linkedin

Services Indy Premier Stone

Services Indy Premier Stone

Swing Shot At Kennywood Amusement Park Rides Amusement Park Roller Coaster

Swing Shot At Kennywood Amusement Park Rides Amusement Park Roller Coaster

Source : pinterest.com